Shelly Pro 3EM 120A
Najważniejsze cechy produktu:
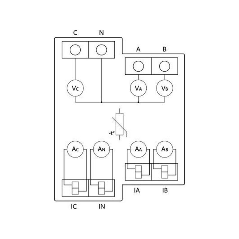
- Pomiar wartości sieci 3-fazowej (lub 3 linii jednofazowych): napięcie, prąd, moc czynna i pozorna, współczynnik mocy, energia zużyta i oddana
- Pomiar 4-kwadrantowy, klasa dokładności B (IEC 62053-21)
- Rejestracja danych historycznych – co 1 minutę przez co najmniej 60 dni
- Obsługa przekładników prądowych (CT, do 120 A)
- Współpraca z automatyką przez LAN (RJ45), Wi-Fi 2,4 GHz, Bluetooth 4.2, wsparcie MQTT, Modbus, RPC, HTTP, webhooks, scripting
- Synchronizacja czasu przez zegar RTC (działa nawet przy zaniku sieci)
- Wyjście sygnalizacyjne i przycisk programowania, wskaźnik LED
- Detekcja błędnej sekwencji faz, kalibracja kanałów, alarmy
- Możliwość rozbudowy o Shelly Pro 3EM Switch Add-on (sterowanie stycznikiem)
- Montaż DIN, solidna, niewielka obudowa
Specyfikacja techniczna Shelly Pro 3EM:
- Montaż: na szynę DIN (94 × 19 × 69 mm), waga 62 g
- Materiał/kolor: plastik biały
- Zasilanie: 100–260 V AC, 50/60 Hz
- Pobór własny: < 3 W
- Bezpiecznik zewnętrzny: charakterystyka B/C, 16A/6 kA
- Zakres napięcia pomiarowego: 100–260 V na fazę
- Dokładność napięcia: ±1%
- Pomiar prądu: 0–120 A/faza (przez przekładniki CT 120A), dokładność prądu ±1% (2–120A), ±2% (1–2A), ±5% (0–1A)
- Obsługa 4 kanałów prądowych (3 fazy + N)
- Minimalny próg kalibracji: 500 W/faza, minimum detekcji: 30 VA/faza
- Pamięć: zapis minimum 60 dni danych minutowych
- Eksport danych: CSV/JSON przez RPC
- Wyjścia/sygnalizacja: optyczna dioda LED (pomiar, stan Wi-Fi/LAN), przycisk programowania
- Temperatura pracy: -20°C do +40°C
- Wilgotność: 30–70% RH
- Maks. wysokość instalacji: 2000 m n.p.m.
- Złącza/przewody: 0,5–2,5 mm², długość odizolowania 6–7 mm, moment 0,4 Nm
- Wi-Fi: 802.11 b/g/n, max. 20 dBm, zasięg 30 m wewnątrz/50 m na zewnątrz
- Bluetooth 4.2: zasięg 10 m/30 m
- LAN: port RJ45
- CPU: ESP32-D0WDQ6, 16 MB flash
- Funkcje: 20 webhooks (5 URL/hook), scripting, MQTT, alarmy, stan faz, zdalna aktualizacja
- Certyfikaty: klasa B, CE, zgodność z normami EU i AU/NZ
| Waga | 0,3100 kg |
|---|---|
| Producent | |
| Model | Pro 3EM 120A |
| EAN | 3800235268100 |
| Numer katalogowy | 65891 |
Musisz się zalogować, aby dodać opinię.
SHELLY to marka oferująca inteligentne urządzenia do automatyki domowej, takie jak inteligentne przekaźniki, czujniki oraz systemy sterowania oświetleniem. Produkty SHELLY charakteryzują się możliwością integracji z popularnymi systemami smart home, intuicyjną obsługą i zaawansowaną funkcjonalnością.
Bezpieczne płatności
Darmowa dostawa
Korzystne ceny
Fachowa pomoc




















Opinie
Na razie nie ma opinii o produkcie.