Shelly 3EM-63W Gen3
Najważniejsze cechy produktu:
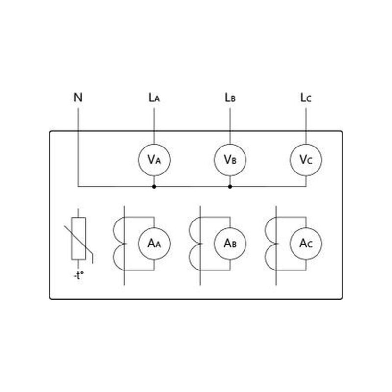
- Monitorowanie instalacji 3-fazowej lub 3 niezależnych linii jednofazowych (prąd RMS do 63 A/faza)
- Pomiar napięcia, prądu, mocy czynnej, pozornej, współczynnika mocy oraz energii w obu kierunkach
- Pomiar 4-kwadrantowy: rejestracja energii zużytej i oddanej (PV ready)
- Dokładność klasy B (IEC 62053-21)
- Wbudowana pamięć — zapis pomiarów co 1 min. przez min. 7 dni (nawet bez dostępu do internetu)
- Synchronizacja czasu — zegar RTC z podtrzymaniem nawet przy braku sieci
- Komunikacja: Wi-Fi (2,4 GHz), Bluetooth 4.2, wsparcie MQTT/HTTP/WebSocket, kompatybilność z platformami smart home, protokół Matter (po aktualizacji)
- Prosty montaż na szynie DIN (nad/pod wyłącznikiem nadprądowym)
- Sygnalizatory LED oraz przycisk trybu/resetu
- Obsługa przez aplikację Shelly Smart Control/web, eksport danych CSV/JSON
Specyfikacja techniczna Shelly 3EM-63W Gen3:
- Wymiary miernika: 21 × 54 × 42 mm (bez przewodów)
- Waga: 58 g (z przewodami)
- Długość przewodów: 260 mm
- Zakres napięcia: 220–240 V~ 50/60 Hz (zasilanie między LA a N)
- Pobór własny: < 2 W
- Maksymalny prąd: do 63 A RMS na fazę (integrowany przekładnik)
- Zakres temperatury pracy: od -20°C do +40°C
- Wilgotność: 30-70% RH
- Maksymalna wysokość instalacji: 2000 m n.p.m.
- Czujnik temperatury wewnętrznej: TAK
- Rejestracja danych: co 1 min., pamięć minimum 7 dni
- Komunikacja: Wi-Fi 802.11 b/g/n (do 30 m w budynku/50 m na zewnątrz), Bluetooth 4.2
- Próg minimalnego obciążenia: 30 VA/kanał
- Zabezpieczenie zewnętrzne: bezpiecznik 63A (B/C, 6 kA)
- Eksport: CSV/JSON, RPC, MQTT, HTTP, webhooks, scripting
- Sygnał Wi-Fi: max. 20 dBm; Bluetooth: max. 4 dBm
- Procesor: ESP-Shelly-C38F, 8 MB flash
- Materiał i kolor obudowy: plastik, biały
| Waga | 0,0600 kg |
|---|---|
| Producent | |
| Model | 3EM-63W Gen3 |
| EAN | 3800235261958 |
| Numer katalogowy | 65824 |
Musisz się zalogować, aby dodać opinię.
SHELLY to marka oferująca inteligentne urządzenia do automatyki domowej, takie jak inteligentne przekaźniki, czujniki oraz systemy sterowania oświetleniem. Produkty SHELLY charakteryzują się możliwością integracji z popularnymi systemami smart home, intuicyjną obsługą i zaawansowaną funkcjonalnością.
Bezpieczne płatności
Darmowa dostawa
Korzystne ceny
Fachowa pomoc



















Opinie
Na razie nie ma opinii o produkcie.